一种插接式金刚石复合片锚杆钻头,其特征在于:
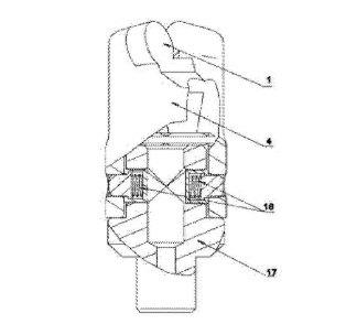
包括钻头体(4)、切削齿(1),钻头体(4)上部设置有两翼结构的切削翼(2),钻头体(4)的下部设置有内腔(5),钻头体(4)外壁的下侧设置有固定销孔(6);所述的钻头体(4)上的焊接面(7)与钻头体(4)的垂直面(8)成锐角角度,焊接面(7)上设置切削齿(1),在两翼的切削面方向上分别设置有循环介质通道(3);所述的钻头体(4)下部的内腔(5)与连接套(17)连接的端面上设置有退屑槽(9)。

插接式金刚石复合片锚杆钻头及其连接套
现有的钻头增大了钻头循环介质通道的过流面积,改善了钻头体的循环排粉和冷却系统,在钻头体翼端圆柱面上镶嵌焊接有硬质合金作为保径条,但是并没有解决钻头装卸困难、钻头使用寿命短,综合钻进效率低的问题。
本钻头体上部设置有两翼结构的切削翼,钻头体的下部设置有内腔,钻头体外壁的下侧设置有固定销孔;
所述的钻头体上的焊接面与钻头体的垂直面成锐角角度,焊接面上设置切削齿,在两翼的切削面方向上分别设置有循环介质通道;钻头体下部的内腔与连接套连接的端面上设置有退屑槽。
本钻头装卸更方便,提高了整体钻进效率,同时避免了连接套的过度消耗,降低了生产成本。